Analog Devices Inc. EVAL-CN0511-RPIZ Function Generator Module
Analog Devices Inc. EVAL-CN0511-RPIZ Function Generator Module is designed to simplify the input requirements, optimize signal paths, and reduce external cables and components. This Module is a self-contained DC to 6GHz signal generator that requires the Raspberry Pi (RPi) to operate. The EVAL-CN0511-RPIZ Module can be incorporated into automatic test equipment, its small size makes it attractive when multiple channels are required. This Module operates at the RF range with low distortion, ultra-low phase noise, and a portable signal generator.Features
- Supports RF signal synthesis and pulse modulation of up to 9GHz
- High dynamic range and signal reconstruction bandwidth
- Fully supports zero Intermediate Frequency (IF) and other dc-coupled applications
- Exceptional spectral flatness and output return loss
- On-board free-running 122.88MHz precision Oven-controlled Crystal Oscillator (OCXO)
- Supports both local touchscreen (TFT LCD screens) and HDMI display
- Features low output ripple with the low output capacitance
- Available SPI, USB, and Ethernet communication interfaces
- No bulky heat sinks required
Board Overview
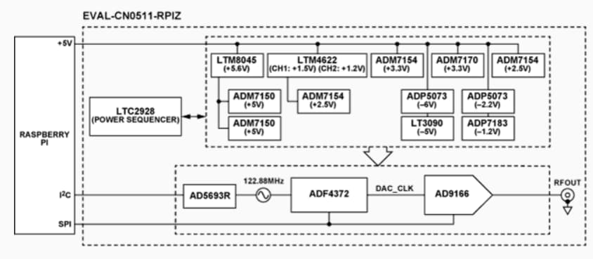
Block Diagram
Yayınlandı: 2022-07-14
| Güncellenmiş: 2022-09-01
