Analog Devices / Maxim Integrated MAX5825 8-Channel 12-bit DACs
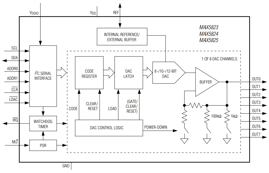
Analog Devices MAX5825 8-Channel 12-bit DAC is a voltage-output digital-to-analog converter that includes output buffers and an internal 3ppm/°C reference that is selectable to be 2.048V, 2.500V, or 4.096V. ADI MAX5825 DAC accepts a wide supply voltage range of 2.7V to 5.5V with extremely low power (6mW) consumption to accommodate most low-voltage applications. A precision external reference input allows rail-to-rail operation and presents a 100kΩ (typ) load to an external reference.The MAX5825 has an I²C-compatible, 2-wire interface that operates at clock rates up to 400kHz. The DAC output is buffered and has a low supply current of less than 250µA per channel and a low offset error of ±0.5mV (typ). The MAX5825 resets the DAC outputs on power up to zero or midscale based on the status of active-low M/Z logic input, providing flexibility for a variety of control applications. The MAX5825 features a watchdog function that can be enabled to monitor the I/O interface for activity and integrity.
Features
- Eight high-accuracy DAC channels
- 12-Bit accuracy without adjustment
- ±1 LSB INL Buffered voltage output
- Guaranteed monotonic over all operating conditions
- Independent mode settings for each DAC
- Three precision selectable internal references
- 2.048V, 2.500V, or 4.096V
- Internal output buffer
- Rail-to-rail operation with external reference
- 4.5µs Settling time
- Outputs directly drive 2kΩ loads
- Wide 2.7V to 5.5V supply range
- Separate 1.8V to 5.5V VDDIO power-supply input
- Fast 400kHz I²C-compatible, 2-wire serial interface
- Pin-selectable power-on-reset to zero-scale or midscale DAC output
- Active-low LDAC and active-low CLR for asynchronous DAC control
- Three software-selectable power-down output impedances
- 1kΩ, 100kΩ, or high impedance
Applications
- Automatic tuning and optical control
- Gain and offset adjustment
- Portable instrumentation
- Power amplifier control and biasing
- Process control and servo loops
- Programmable voltage and current sources
Functional Diagram
Yayınlandı: 2012-04-10
| Güncellenmiş: 2023-04-12
