Diodes Incorporated AH3722A & AH3724A Hall-Effect Latch ICs
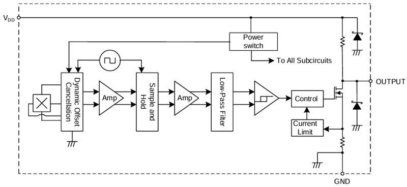
Diodes Incorporated AH3722A and AH3724A Hall-Effect Latch ICs are designed for various applications, including brushless DC motors, flow meters, linear encoders, and position sensors. The Diodes Incorporated devices support a broad range of applications, operating across a supply range of 3.0V to 28V. The ICs have a chopper-stabilized architecture and internal bandgap regulator, ensuring a temperature-compensated supply for its circuits. Additionally, the ICs include a Zener clamp on the supply and output with overcurrent limit and a Zener clamp for enhanced robustness and protection.Features
- Bipolar latch (south pole: on, north pole: off)
- 3.0V to 28V operating voltage range
- BOP and BRP of 25G to 40G and -25G to -40G typical high sensitivity
- Internally pullup resistor on the output pin
- Resistant to physical stress
- Output overcurrent limit
- Chopper stabilized design provides superior temperature stability, minimal switch point drift, and enhanced immunity to stress
- Good RF noise immunity
- Reverse blocking diode and Zener clamp on supply
- -40°C to +125°C operating temperature
- 8kV high ESD HBM
- Industry-standard SC59, SOT23 (type S), SIP-3 (ammo pack), and SIP-3 (bulk pack) packages
- Totally lead-free and fully RoHS compliant
- Halogen and antimony-free, green device
Applications
- Brushless DC motor commutation
- Revolution per minute (RPM) measurement
- Flow meters
- Angular and linear encoders and position sensors
- Contactless commutation, speed measurement, and angular position sensing/indexing in consumer home appliances, office equipment, and industrial applications
Typical Applications Circuit
Block Diagram
Yayınlandı: 2024-02-21
| Güncellenmiş: 2024-03-07
