Diodes Incorporated AP61100/AP61102 Synchronous Buck Converter
Diodes Incorporated AP61100/AP61102 Synchronous Buck Converter is an automotive-compliant converter with a wide input voltage range of 2.3V to 5.5V. This converter integrates a 110mΩ high-side power MOSFET and an 80mΩ low-side power MOSFET to provide high-efficiency step-down DC-DC conversion. The Diodes Incorporated AP61100/AP61102 converter adopts Constant On-Time (COT) control, achieving fast transient response, easy loop stabilization, and low output voltage ripple. This converter is available in a SOT563 package. Typical applications include 5V automotive distributed power bus supplies, automotive infotainment, automotive clusters, automotive telematics, and advanced driver assistance systems.Features
- Integrates a 110mΩ high-side power MOSFET and an 80mΩ low-side power MOSFET
- AEC-Q100 qualified with the following results
- -40°C to 125°C TA rangeDevice temperature grade 1
- Device HBM ESD classification level H3A
- Device CDM ESD classification level C5
- Provides high-efficiency step-down DC-DC conversion
- Adopts Constant On-Time (COT) control to achieve
- Fast transient response
- Easy loop stabilization
- Low output voltage ripple
- Programmable operation mode through EN
- Pulse Frequency Modulation (PFM)
- Pulse Width Modulation (PWM) regardless of output
- Power-good indicator
- AP61102Q
- Protection circuitry
- Undervoltage Lockout (UVLO)
- VIN Overvoltage Protection (OVP)
- Peak current limit
- Valley current limit
- Thermal shutdown
Specifications
- 2.3V to 5.5V wide input voltage range
- 15μA low quiescent current (PFM)
- 1A continuous output current
- 0.6V to 3.6V output voltage range
- 0.6V±2% reference voltage
- 2.2MHz switching frequency (VIN=5V and VOUT=1.8V)
- Up to 89% efficiency at 5mA light load
Applications
- 5V automotive distributed power bus supplies
- Automotive infotainment
- Automotive clusters
- Automotive telematics
- Advanced driver assistance systems
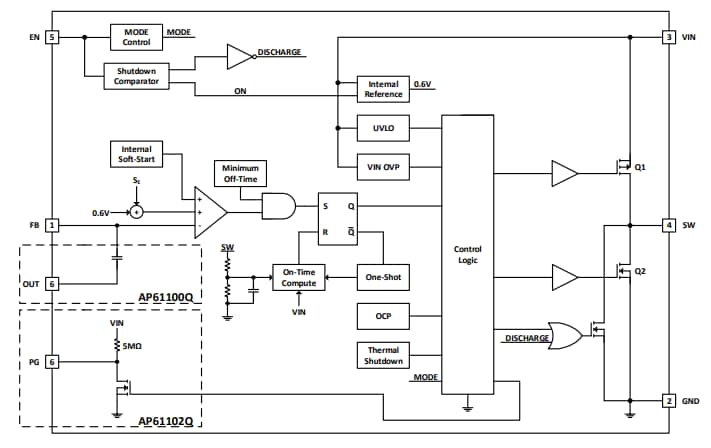
Functional Block Diagram
Yayınlandı: 2020-06-09
| Güncellenmiş: 2024-07-31
