Kingbright AAAF5050-MC-K12 Surface Mount LED Lamp
Kingbright AAAF5050-MC-K12 Surface Mount LED Lamp is an intelligent control LED light source that integrates a control circuit and RGB chips. This LED lamp features a data protocol that uses a unipolar NRZ communication mode and a control chip that is integrated with the LED. The AAAF5050-MC-K12 LED provides intelligent protection against reverse connection. The LED lamp includes a 256-level grayscale adjustable circuit, built-in electric reset, power lost reset circuit, and built-in signal reshaping circuit. The AAAF5050-MC-K12 LED operates within a -40°C to +85°C temperature range. This LED lamp offers 5V supply voltage, 1mA static power consumption, and 1.2kHz PWM frequency. The AAAF5050-MC-K12 LED is ideal for use in a full-cover soft light strip, signage applications, and decorative and entertainment lighting.Features
- Control circuit and LED share the same power source
- Data protocol that uses unipolar NRZ communication mode
- Intelligent protection against reverse connection
- Built-in electric reset and power lost reset circuit
- 256-level grayscale adjustable circuit
- Built-in signal reshaping circuit
- Cascade port transmission signal by a single line
- Moisture sensitivity level 3
- RoHS compliant
Applications
- Decorative and entertainment lighting
- Full color soft light strip
- Commercial and residential architectural lighting
- Signage applications
Specifications
- -40°C to +85°C operating temperature range
- -40°C to +115°C storage temperature range
- 3.5V to 5.5V supply power voltage range
- -0.5V to VDD+0.5V input voltage range
- 120° viewing angle
- 4000V EST pressure
- 5V supply voltage
- 1mA static power consumption
- 1.2kHz PWM frequency
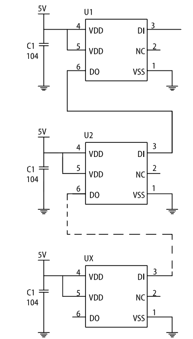
Pin Configuration
VSS- Ground
DI- Control data signal input
VDD- Power supply LED
DO- Control data signal output
Application Circuit Diagram
AAAF5050-MC-K12 Available Types
Yayınlandı: 2019-12-11
| Güncellenmiş: 2023-12-14
