Texas Instruments bq27Z558 Impedance Track™ Gas Gauge
Texas Instruments bq27Z558 Impedance Track™ Gas Gauge is a highly integrated, accurate 1-series cell gas gauge with a flash programmable custom reduced instruction-set CPU (RISC). It also includes SHA-256 authentication for Li-polymer and Li-ion battery packs. The 1-series cell capability includes parallel cells for increased capacity.The Texas Instruments bq27Z558 gas gauge communicates through HDQ and I2C-compatible one-wire interfaces. These devices include several key features that can help facilitate accurate gas gauging applications. Integrated temperature sense functions (internal and external options) enable system and battery temperature measurements.
Features
- Supports high-side and low-side current sense resistors down to 1mΩ
- Supports pack-side gauging, including enhanced state of health (SOH) algorithm
- Fast QMax update option based on predicted OCV
- SHA-256 authentication responder for increased battery pack security
- Sophisticated charge algorithms
- JEITA
- Enhanced charging
- RSOC charging compensation option
- Two independent ADCs
- Support for simultaneous current and voltage sampling
- High-accuracy coulomb counter with input offset error < 1µV (typical)
- Low-voltage (2V) operation
- Wide-range current applications (1mA to > 5A)
- Active high or low pulse or level interrupt pin
- Supports battery trip point (BTP)
- Reduced power modes (typical battery pack operating range conditions)
- Typical SLEEP mode: < 11µA
- Typical DEEP SLEEP mode: < 9µA
- Typical HIBERNATE mode: < 3µA
- Typical OFF mode: < 1.9µA
- Internal and external temperature sense functions
- Diagnostic lifetime data monitor and black box recorder
- 400kHz I2C bus communications interface, including a 1.2V logic level for high-speed programming and data access
- HDQ one-wire for communication with the host
- Compact 12-pin DSBGA package (YPH)
Applications
- Smartphones
- Digital still cameras and video cameras
- Tablet computing
- Portable and wearable health devices
- Portable audio devices
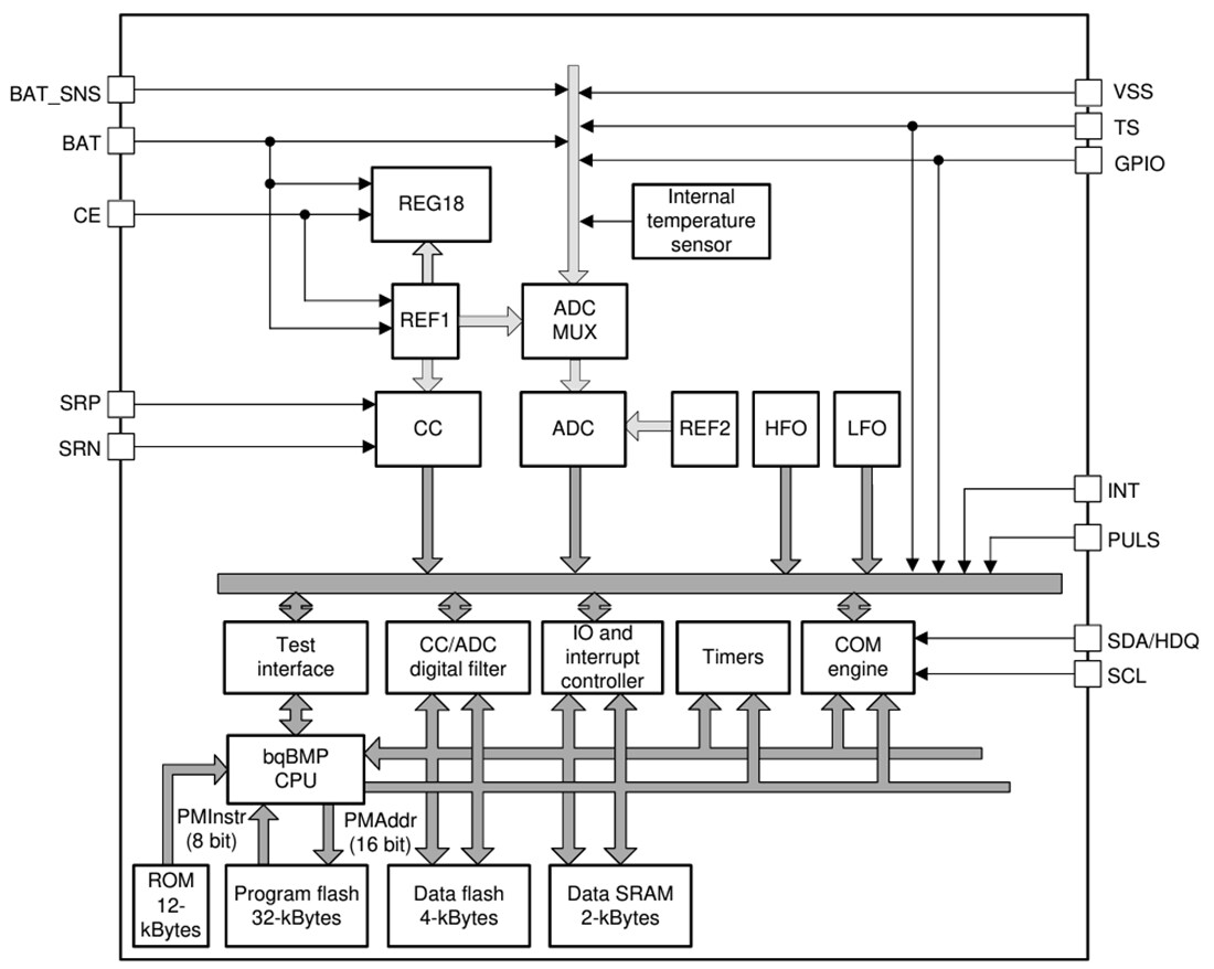
Functional Block Diagram
Yayınlandı: 2024-02-05
| Güncellenmiş: 2024-04-01
