Texas Instruments LMx24x/LM2902x/LMx24x-Q1/LM2902x-Q1 Quad Op Amps
Texas Instruments LMx24x/LM2902x/LMx24x-Q1/LM2902x-Q1 Quadruple Operational Amplifiers are the next-generation versions of the industry-standard operational amplifiers (op amps) LM324 and LM2902, which include four high-voltage (36V) op amps. These devices provide outstanding value for cost-sensitive applications, with features including low offset (600µV, typical), common-mode input range to ground, and high differential input voltage capability.The Texas Instruments LMx24x/LMx24x-Q1 and LM2902x/LM2902x-Q1 op amps simplify circuit design with enhanced features such as unity-gain stability, lower offset voltage maximum of 3mV (2mV max. for LM324BA and LM2902BA), and lower quiescent current of 240µA per amplifier (typ.). High ESD (2kV, HBM) and integrated EMI and RF filters enable the LMx24x/LMx24x-Q1 and LM2902x/LM2902x-Q1 devices to be used in the most rugged, environmentally challenging applications. The LMx24x-Q1 and LM2902x-Q1 devices are AEC-Q100 qualified for automotive applications.
Features
- 3V to 36V (B, BA versions) wide supply range
- ±2mV (BA versions, LM2902A, LM124A) low input offset voltage maximum at 25°C
- 2kV ESD protection (HBM) (B, BA, K versions)
- Internal RF and EMI filter (B, BA versions)
- Common-mode input voltage range includes V–
- Input voltage differential can be driven up to supply voltage
- On products compliant with MIL-PRF-38535, all parameters are tested unless otherwise noted
- Production processing does not necessarily include testing all parameters on all other products
Applications
- Merchant network and server power supply units
- Multi-function printers
- Power supplies and mobile chargers
- Desktop PC and motherboard
- Indoor and outdoor air conditioners
- Washers, dryers, and refrigerators
- AC inverters, string inverters, central inverters, and voltage frequency drives
- Uninterruptible power supplies
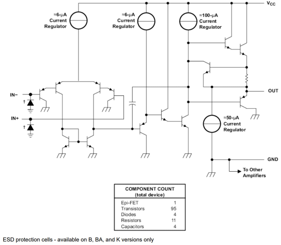
Functional Block Diagram
Additional Resource
Yayınlandı: 2022-11-09
| Güncellenmiş: 2025-06-06
