Texas Instruments LP8756x-Q1 Four-Phase Buck Converters
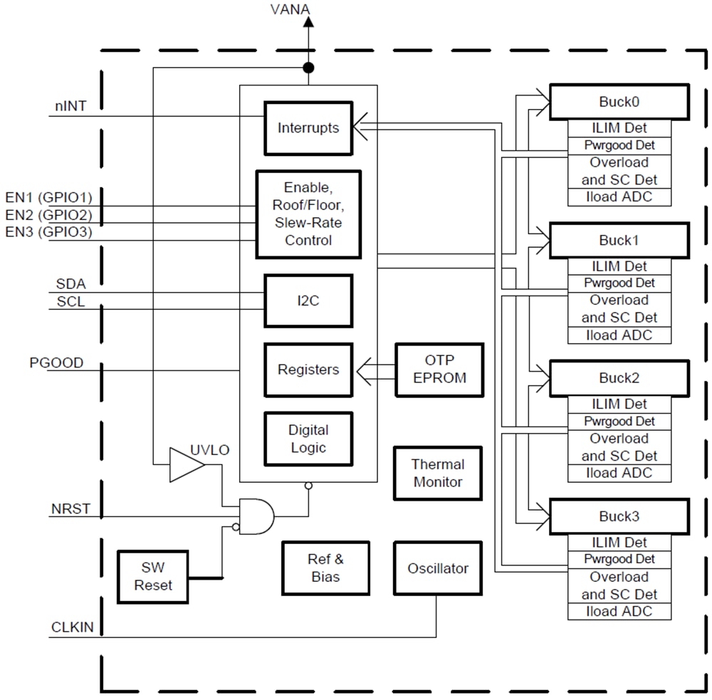
Texas Instruments LP8756x-Q1 Four-Phase Buck Converters are designed to meet the power management requirements of processors and platforms in various automotive power applications. The device contains four step-down DC/DC converter cores, which are configured as a 4-phase output, 3-phase and 1-phase outputs, 2-phase and 2-phase outputs, one 2-phase and two 1-phase outputs, or four 1-phase outputs. The device is controlled by an I2C-compatible serial interface and also by enable signals.Features
- Qualified for automotive applications
- AEC-Q100 Qualified with the following results
- Device Temperature Grade 1: –40°C to +125°C ambient operating temperature
- Device HBM ESD Classification Level 2
- Device CDM ESD Classification Level C4B
- 2.8V to 5.5V Input voltage
- 0.6V to 3.36V Output voltage
- Four high-efficiency step-down DC/DC converter cores
- 16A (4A per Phase) Maximum output current
- 0.5mV/µs to 10mV/µs Programmable output voltage slew-rate
- 2MHz Switching frequency
- Spread-spectrum mode and phase interleaving
- Configurable General Purpose I/O (GPIOs)
- I2C-Compatible interface that supports standard (100kHz), fast (400kHz), fast+ (1MHz), and high-speed (3.4MHz) modes
- Interrupt function with programmable masking
- Programmable Power-Good Signal (PGOOD)
- Output short-circuit and overload protection
- Overtemperature warning and protection
- Overvoltage Protection (OVP) and Undervoltage Lockout (UVLO)
Applications
- Automotive infotainment
- Cluster
- Radar
- Camera power applications
Functional Block Diagram
Yayınlandı: 2018-08-23
| Güncellenmiş: 2025-03-10
