Texas Instruments LP875701-Q1 DC/DC Buck Converters
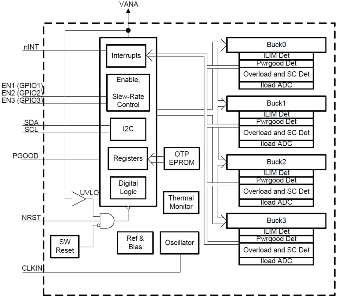
Texas Instruments LP875701-Q1 DC/DC Buck Converters are designed to meet the power management requirements of the most current processors and platforms in various automotive power applications. These devices contain four step-down DC/DC converter cores configured as a 4-phase output in forced-PWM mode. These devices are controlled by an I2C-compatible serial interface and by enable signals. The LP875701-Q1 supports remote differential-voltage sensing for multiphase outputs to compensate for IR drop between the regulator output and the point-of-load (POL), improving the output voltage's accuracy. The switching clock can be forced to PWM mode and synchronized to an external clock to minimize the disturbances.Texas Instruments LP875701-Q1 converters support load-current measurement without the addition of external current-sense resistors. The LP875701-Q1 device also supports programmable start-up and shutdown delays and sequences synchronized to enable signals. The sequences can also include GPIO signals to control external regulators, load switches, and a processor reset. The device controls the output slew rate during start-up to minimize output-voltage overshoot and in-rush current.
Features
- Qualified for automotive applications
- AEC-Q100 qualified with the following results
- Device Temperature Grade 1 (–40°C to +125°C ambient operating temperature)
- Device HBM ESD Classification Level 2
- Device CDM ESD Classification Level C4B
- 2.8V to 5.5V input voltage
- 1.0V output voltage
- Four high-efficiency step-down DC/DC converter cores
- Maximum output current of 10A (2.5A per phase)
- 3MHz switching frequency
- Spread-spectrum mode and phase interleaving
- Configurable General Purpose I/O (GPIOs)
- I2C-compatible interface that supports Standard (100kHz), Fast (400kHz), Fast+ (1MHz), and High-Speed (3.4MHz) modes
- Interrupt function with programmable masking
- Programmable Power-Good (PGOOD) signal
- Output short-circuit and overload protection
- Overtemperature warning and protection
- Overvoltage Protection (OVP) and Undervoltage Lockout (UVLO)
Applications
- Automotive infotainment
- Clusters
- Radar
- Camera power
Functional Block Diagram
Yayınlandı: 2019-03-07
| Güncellenmiş: 2025-03-06
