Texas Instruments TAS5806MD Digital Class-D Audio Amplifiers
Texas Instruments TAS5806MD Digital Closed-loop Class-D Audio Amplifiers offer a cost-effective digital input solution with low power dissipation and sound enrichment. The TAS5806MD provides an integrated audio processor and 96kHz architecture that supports advanced audio process flow, including SRC, 15 BQs per channel, volume control, audio mixing, 3-band 4th order DRC, full-band AGL, THD manager, and level meter.The hybrid modulation scheme consumes a very low quiescent current (16.5mA at 13.5V PVDD) and offers an extended battery life in portable audio applications. Using advanced EMI suppression technology, designers can leverage inexpensive ferrite bead filters to reduce board space and system costs for applications under 10W. The Texas Instruments TAS5806MD has an integrated Directpath™ Headphone amplifier and line driver to increase the system-level integration and reduce total solution costs.
Features
- Supports multiple output configurations:
- 2 × 23W in 2.0 mode (8Ω, 21V, THD+N=1%)
- 45W in mono mode (4Ω, 21V, THD+N=1%)
- Excellent audio performance
- THD+N ≤ 0.03% at 1W, 1kHz, PVDD = 12V
- SNR ≥ 107dB (A-weighted), Noise Level <40µVrms
- Flexible power supply configurations
- PVDD: 4.5V to 26.4V
- DVDD and I/O: 1.8V or 3.3V
- Flexible Audio I/O
- I2S, LJ, RJ, TDM, 3-wire digital audio interface (no MCLK required)
- Supports 32, 44.1, 48, 88.2, 96kHz sample rates
- SDOUT for audio monitoring, sub-channel, or echo cancellation
- Enhanced audio processing
- Multi-band advanced DRC and AGL
- 2×15 BQs, thermal foldback, DC blocking
- Input mixer, output crossbar, level meter
- 5 BQs + 1 band DRC +THD manager for the subwoofer channel
- Sound field spatializer option
- Integrated self-protection
- Adjacent pin-to-pin short without damage
- Over-current error
- Over-temperature warning and error
- Under-voltage, over-voltage lock-out (UVLO, OVLO)
- Easy System Integration
- I2C software control
- Reduced Solution Size
- Fewer passives are required compared to open-loop devices
- Inductor-less operation (ferrite bead) for most cases where PVDD ≤ 14V
- Stereo headphones and stereo line drivers adjust gain through I2C
- DirectPath technology eliminates bulky dc-blocking capacitors
Applications
- LCD TV, OLED TV
- Wireless speaker, smart speaker with voice assistant
- Soundbar, wired speaker, bookshelf stereo system
- AV receiver, smart home, and IoT appliance
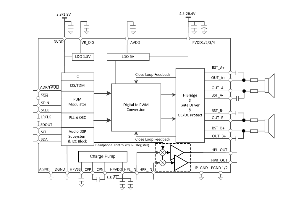
Block Diagram
Yayınlandı: 2019-10-15
| Güncellenmiş: 2023-12-12
