Texas Instruments TPS2HB16-Q1 Dual-Channel Smart High-Side Switches
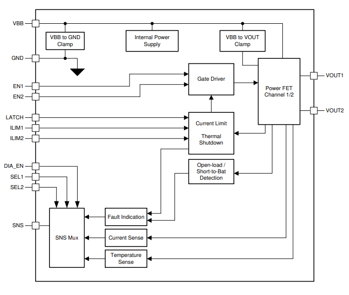
Texas Instruments TPS2HB16-Q1 Dual-Channel Smart High-Side Switches are intended for 12V automotive systems. These switches integrate robust protection and diagnostic features to ensure output port protection during harmful events like short circuits in automotive systems. The TPS2HB16-Q1 switches protect against faults through a reliable current limit that depends on the device variant and is adjustable from 4.1A to 48.5A.The dual-channel high-side switches provide a high-accuracy analog current sense that allows for improved load diagnostics. These TPS2HB16-Q1 switches enable predictive maintenance and load diagnostics that improve the system lifetime by reporting load current and device temperature to a system MCU. The Texas Instruments TPS2HB16-Q1 switches are available in an HTSSOP package for a reduced PCB footprint. These TPS2HB16-Q1 devices are AEC-Q100 qualified for automotive applications. Typical applications include ADAS modules, transmission control units, seat comfort modules, body control modules, and automotive display modules.
Features
- Qualified for automotive applications
- AEC-Q100 qualified with the following results
- Device temperature grade 1
- TA = -40°C to 125°C ambient operating temperature range
- Device HBM ESD classification level 2
- Device CDM ESD classification level C4B
- Withstands 40V load dump
- Device temperature grade 1
- Dual-channel smart high-side switch with 16mΩ RON (TJ = 25°C)
- Improve system-level reliability through adjustable current limiting
- The current limit is adjustable from 4.1A to 48.5A and internally fixed at 60A
- Provides fault indication through SNS pin
- Detection of open load and short-to-battery
- Robust integrated output protection
- Integrated thermal protection
- Protection against short-to-ground/battery
- Protection against reverse battery events, including automatic switch on with the reverse voltage
- Automatic shut off if the loss of battery/ground occurs
- Integrated output clamp to demagnetize inductive loads
- Configurable fault handling
- Analog sense output can be configured to measure accurately
- Load current
- Device temperature
Applications
- Automotive display module
- Advanced Driver Assistance Systems (ADAS) modules
- Seat comfort module
- Transmission control unit
- Heating, Ventilation and Air Conditioning (HVAC) control module
- Body control modules
- Incandescent and LED lighting
Block Diagram
Yayınlandı: 2020-01-08
| Güncellenmiş: 2025-03-06
